AN / VIC-1
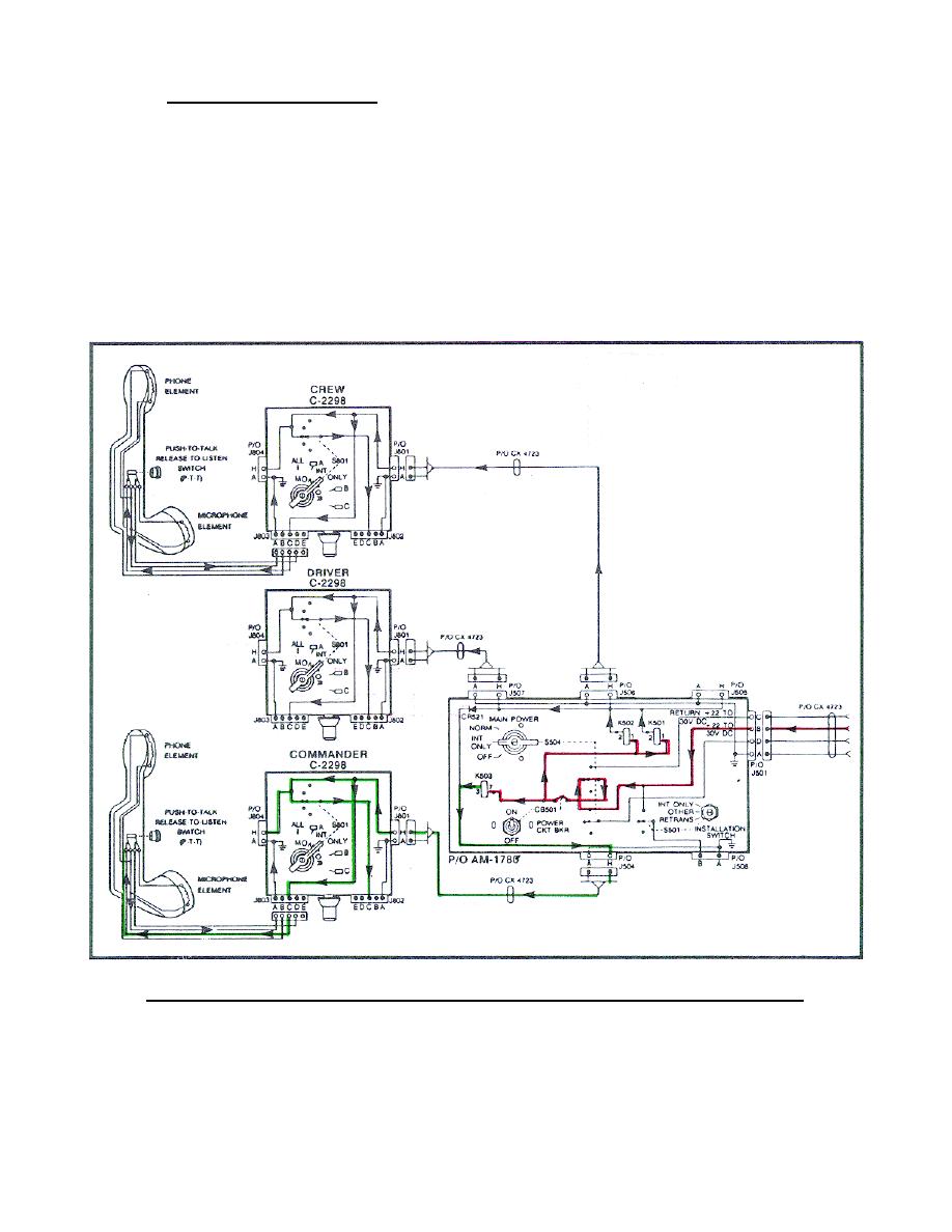
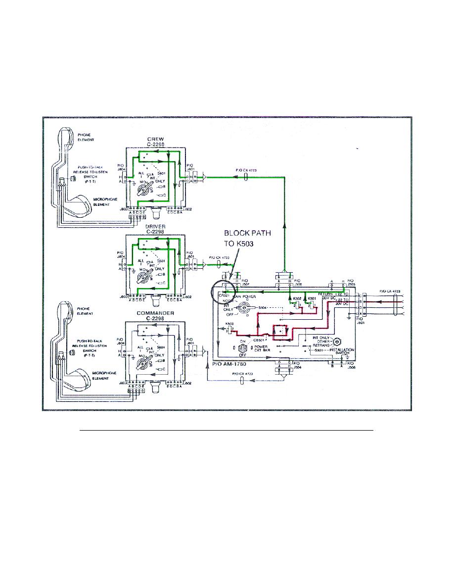
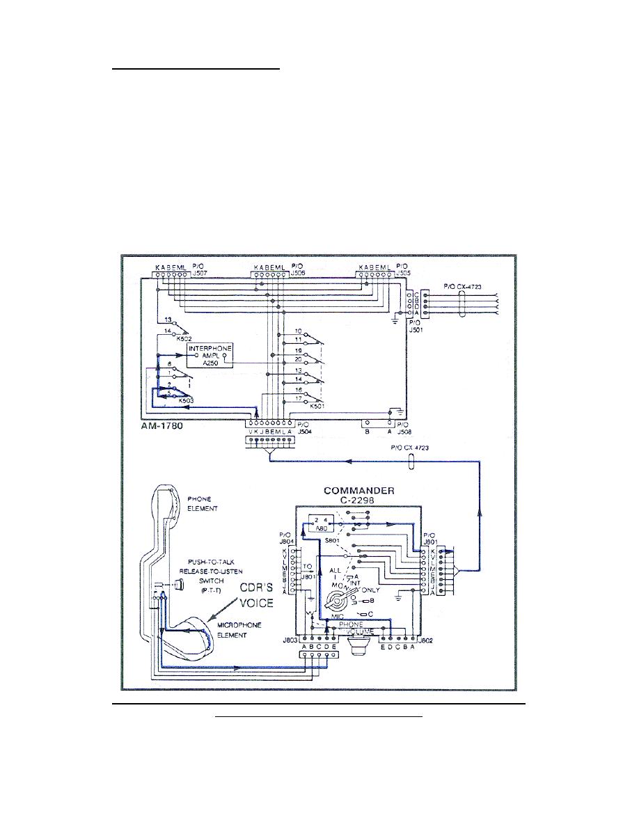
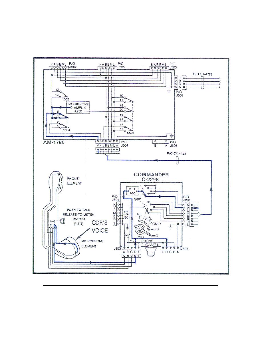
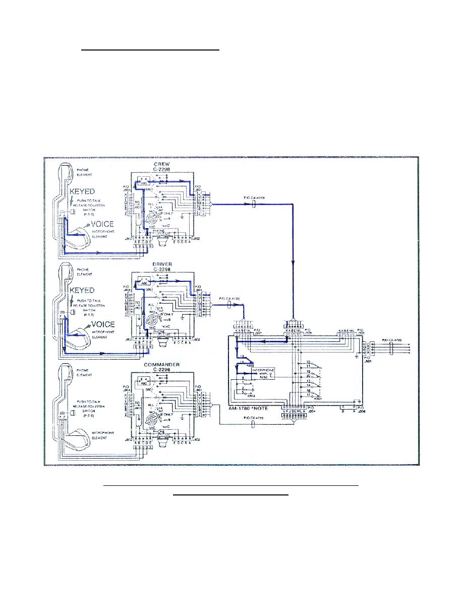
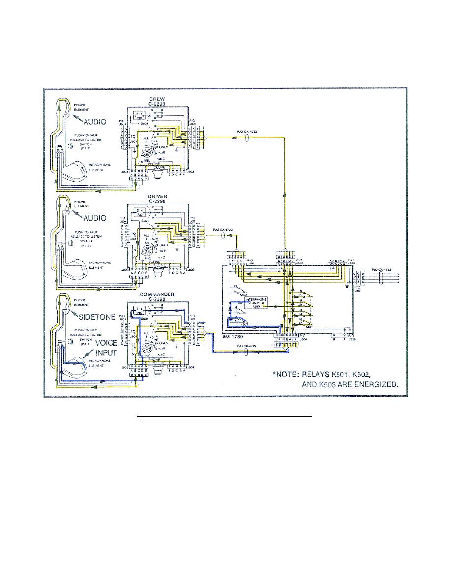
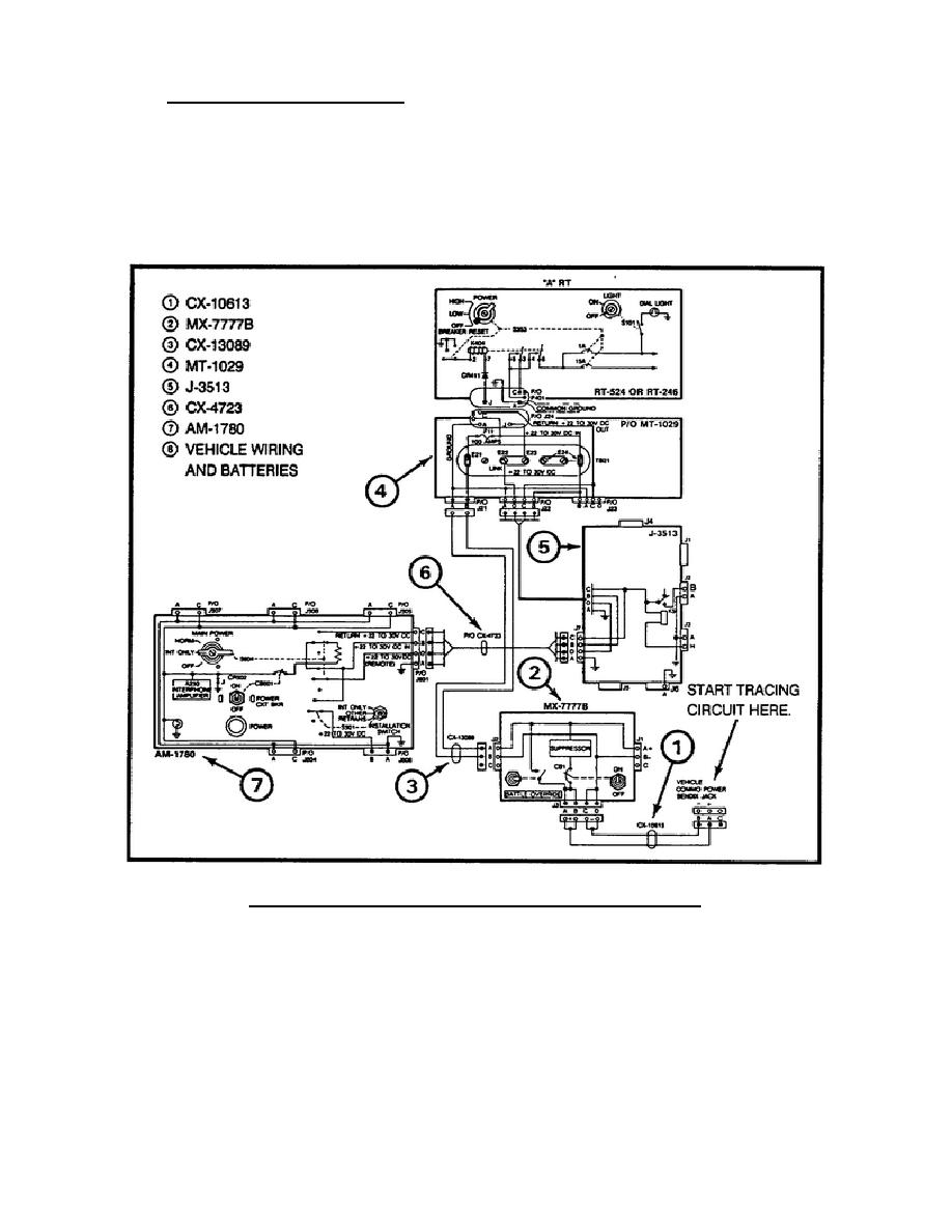
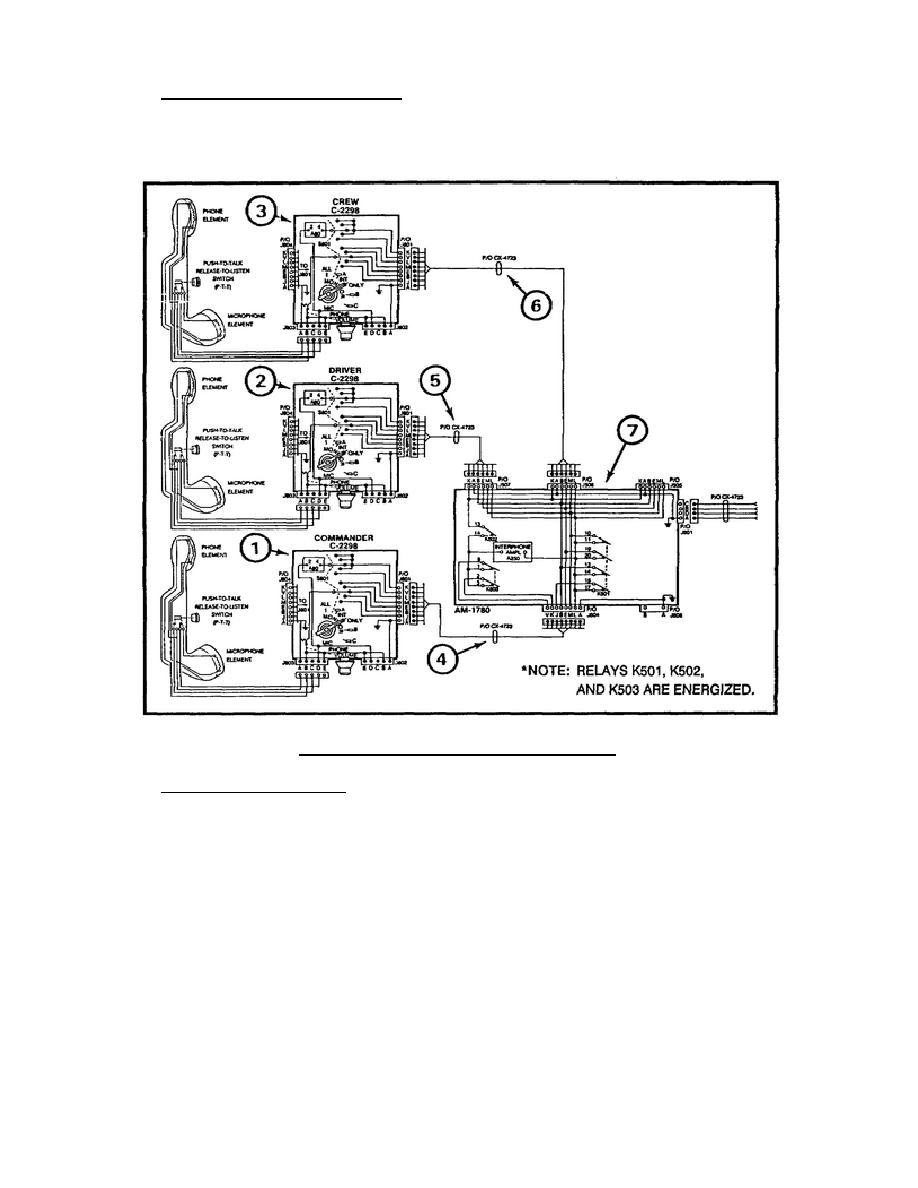
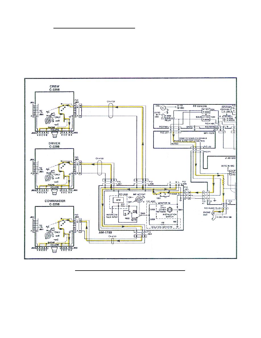
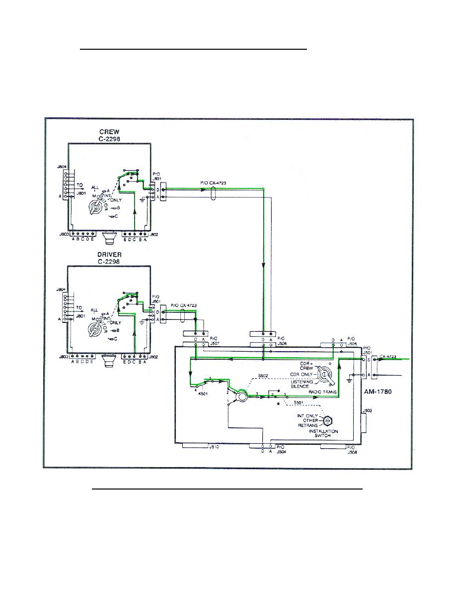
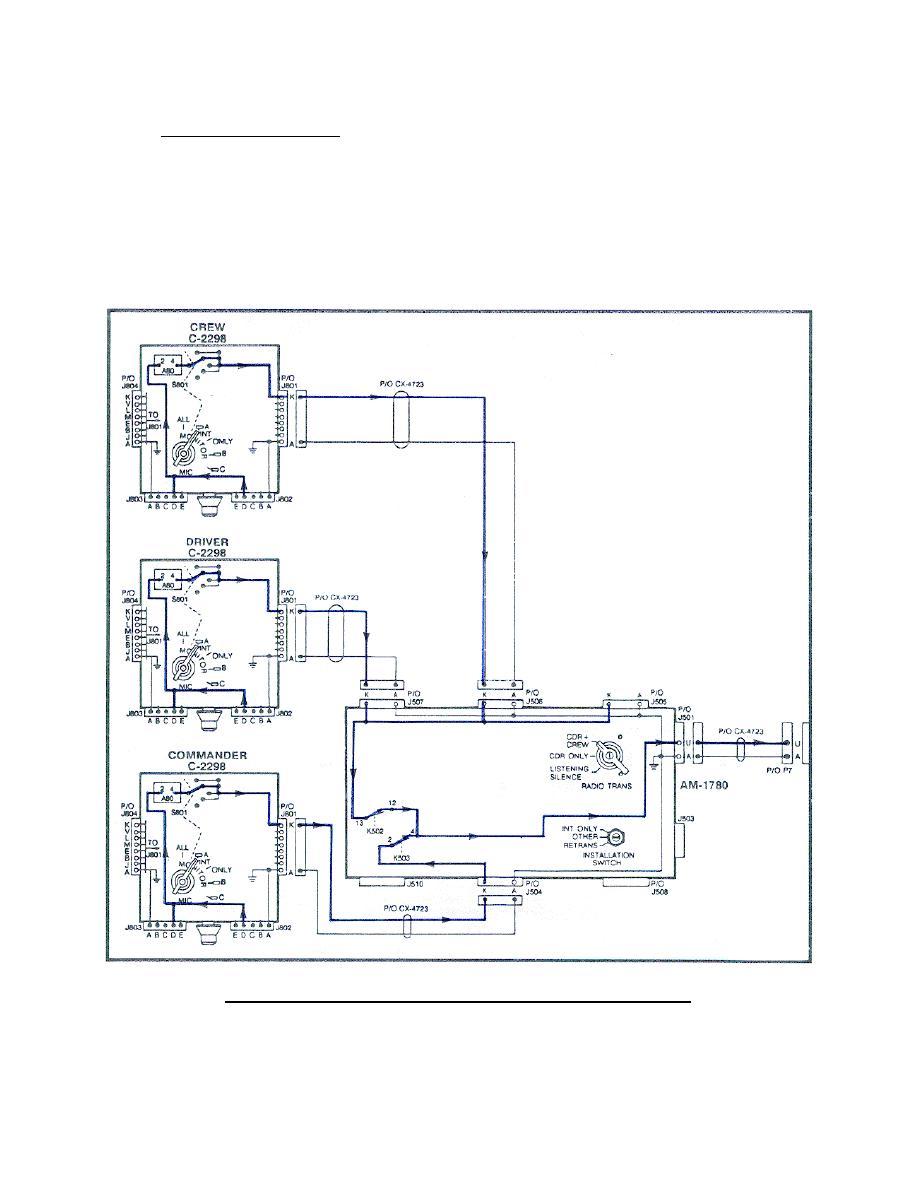
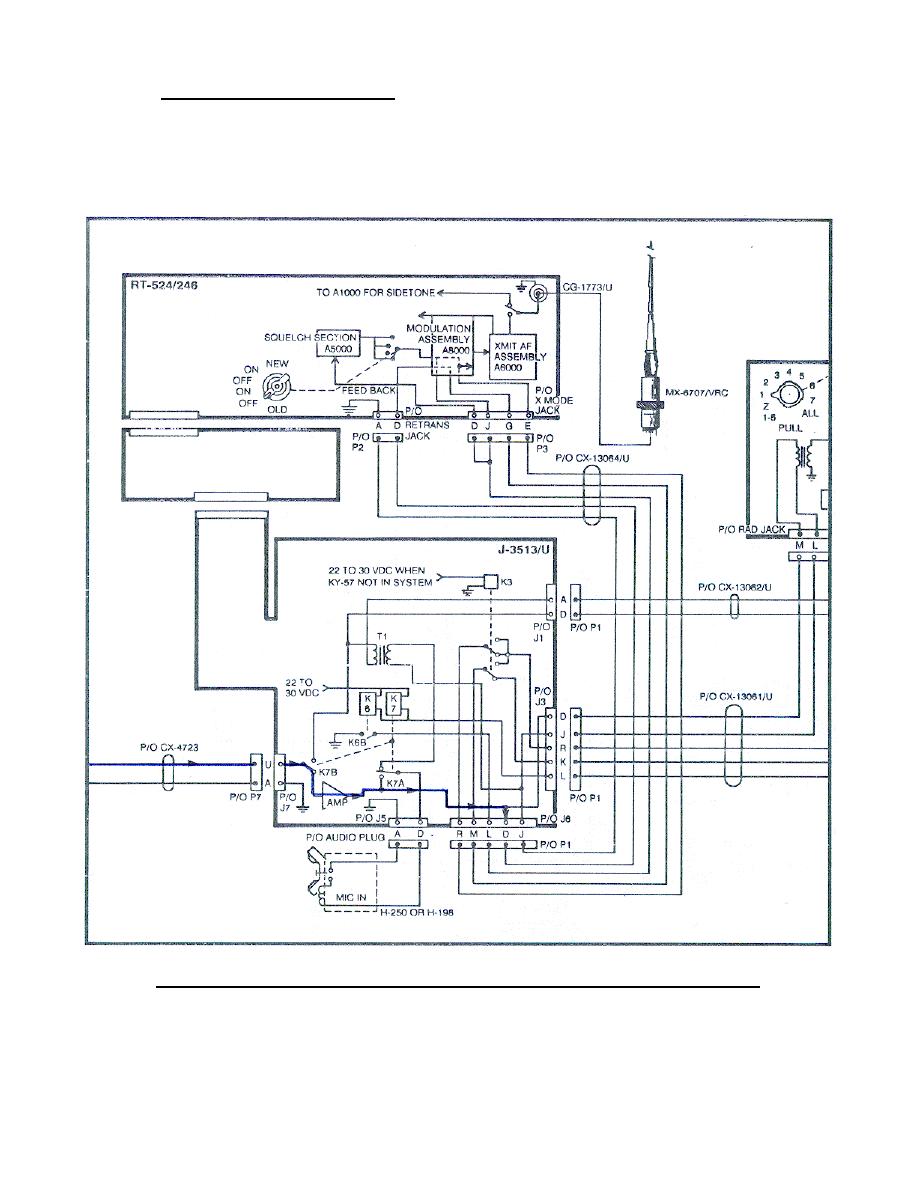
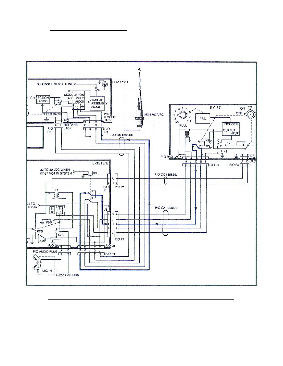
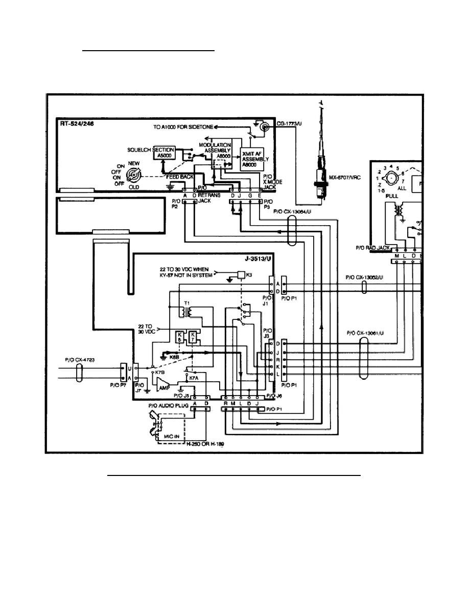
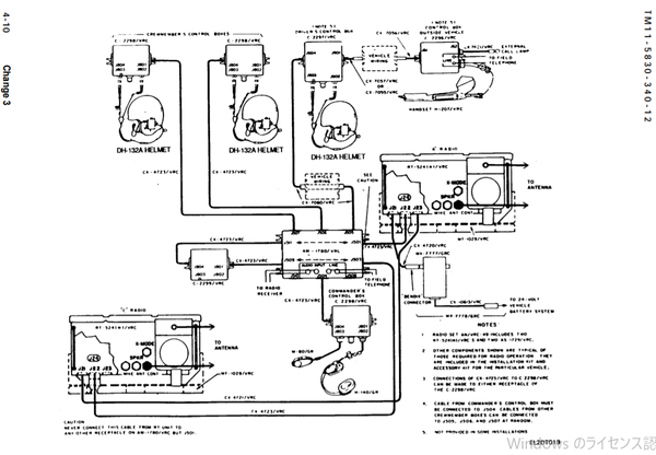
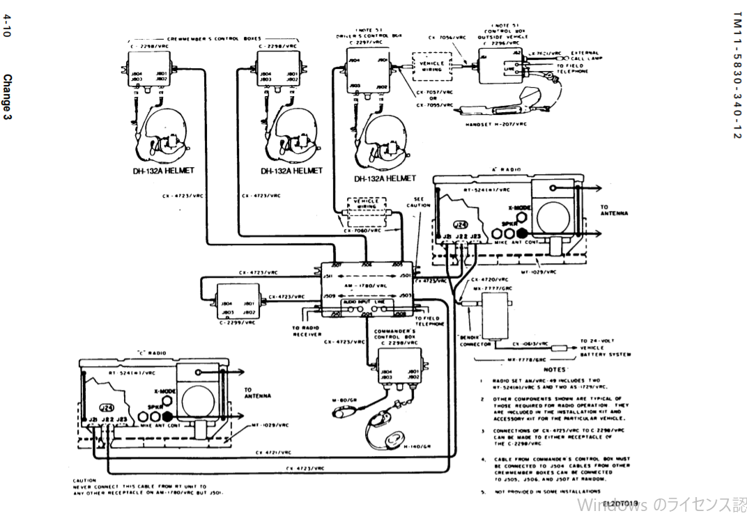
AN / VIC-1相互通信セットは、2〜5人の乗務員間の音声通信を提供します。ラジオセットの一部として相互通信システムを持たない車両で使用されます。これは、2つの主要なコンポーネントで構成されています。制御相互通信セットC-2298 / VRCは、無線機器を使用する各乗組員に取り付けられます(タンク内では、ドライバーを除く各乗組員の位置に取り付けられます)。可聴周波数、AM-1780 / VRC。音声信号を増幅し、システム全体での配信を制御します。特定の車両用に提供されるインストールキットには、AN / VIC-1相互通信セットと組み合わせて使用される他のコントロールボックスおよびオーディオアクセサリが含まれる場合があります。さらに、ケーブルアセンブリ、特殊用途の電気CX-4720 / VRCは、車両の電源をアンプに接続するために使用され、1つのCX-4723 / VRCは、アンプを各コントロールボックスに接続するために使用されます。通常、AN / VIC-1は車両で使用されますが、適切なDC電源が利用できる場合は、車両以外の設置に使用できます。これには、離れた場所にある電話または配電盤を車両相互通信システムに接続するために使用できる2つのラインバインディングポストがあります。AM-1780 / VRCオーディオアンプは、相互通信システムの主な機能ボックスです。パワーと増幅の両方を制御できます。AM-1780 / VRCアンプと乗組員のオーディオアクセサリ間の接続を提供します。ボリュームコントロールとラジオ/相互通信セレクタースイッチがあります。このユニットは、インターコムと受信オーディオ信号を増幅します。また、メインコントロールボックスおよび相互接続ジャンクションとしても機能します。コントロールボックスとして、インターコムおよび無線操作用の電力を分配し、指揮官または乗組員による送信を許可し、インターコムオーディオを強調して受信信号を上書きします。ジャンクションボックスとして、無線機とインターホンシステムを相互接続します。
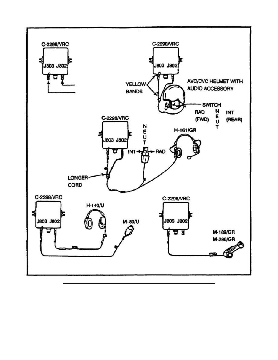
追加のアクセサリの使用法
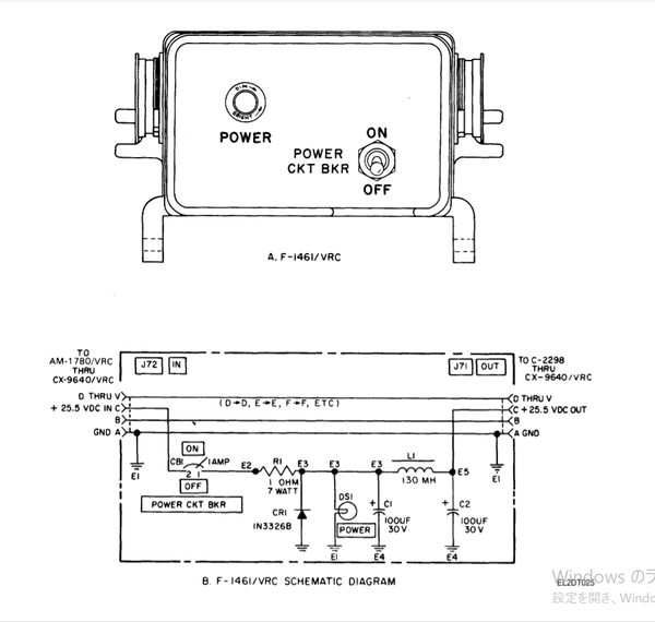
AM-1780 / VRC
説明
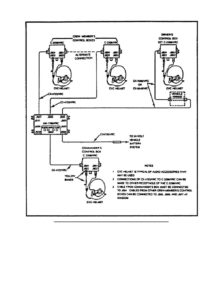
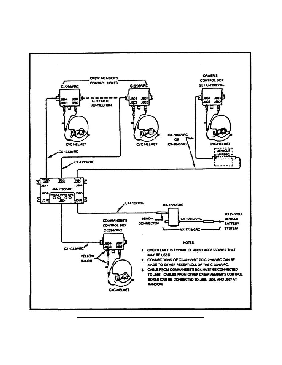
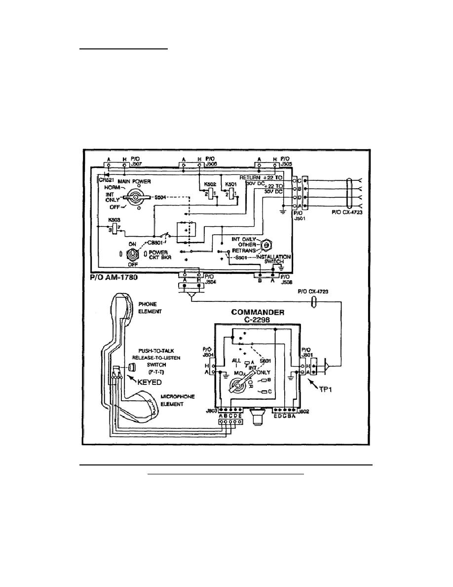
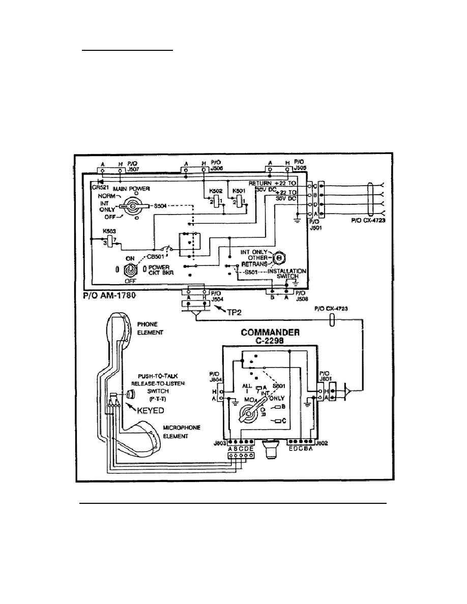
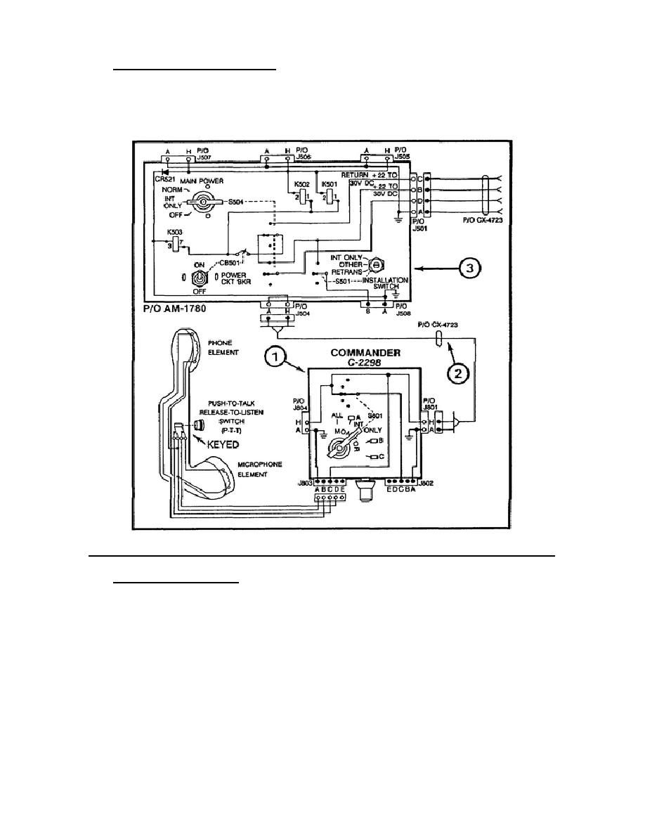
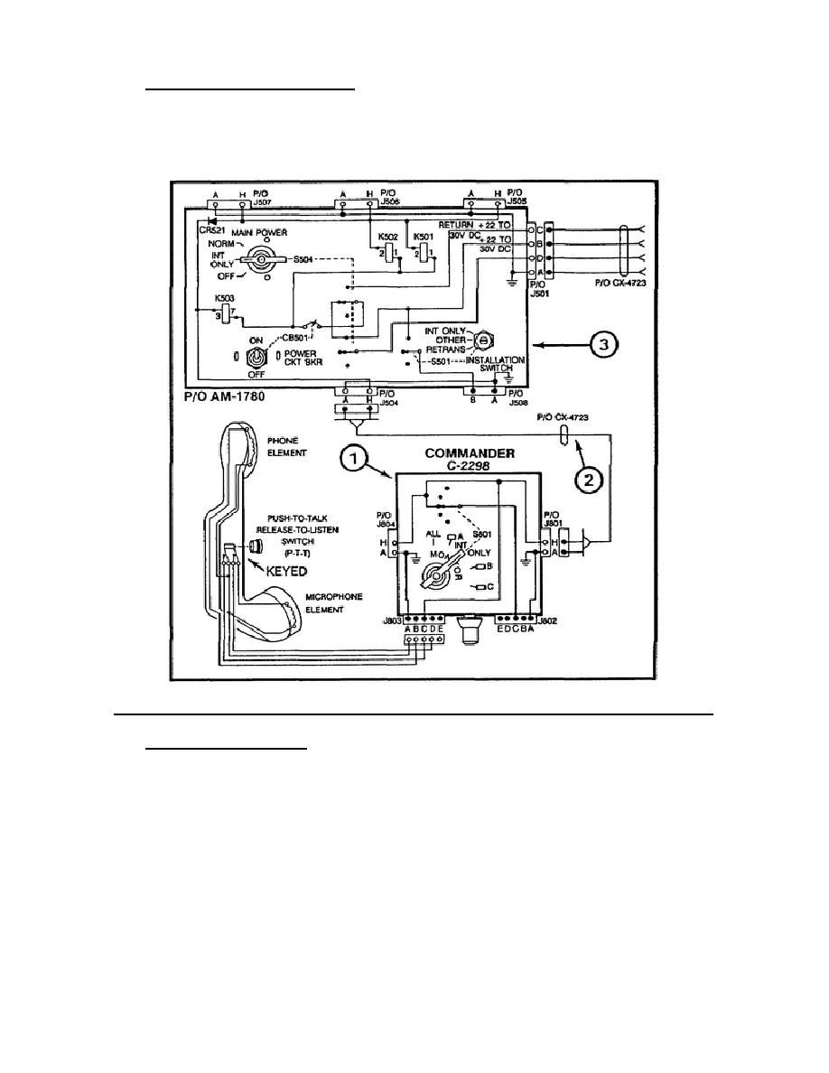
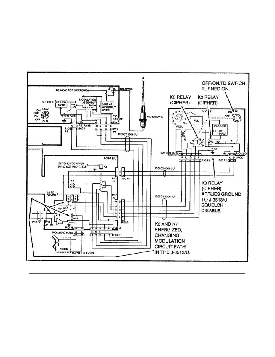
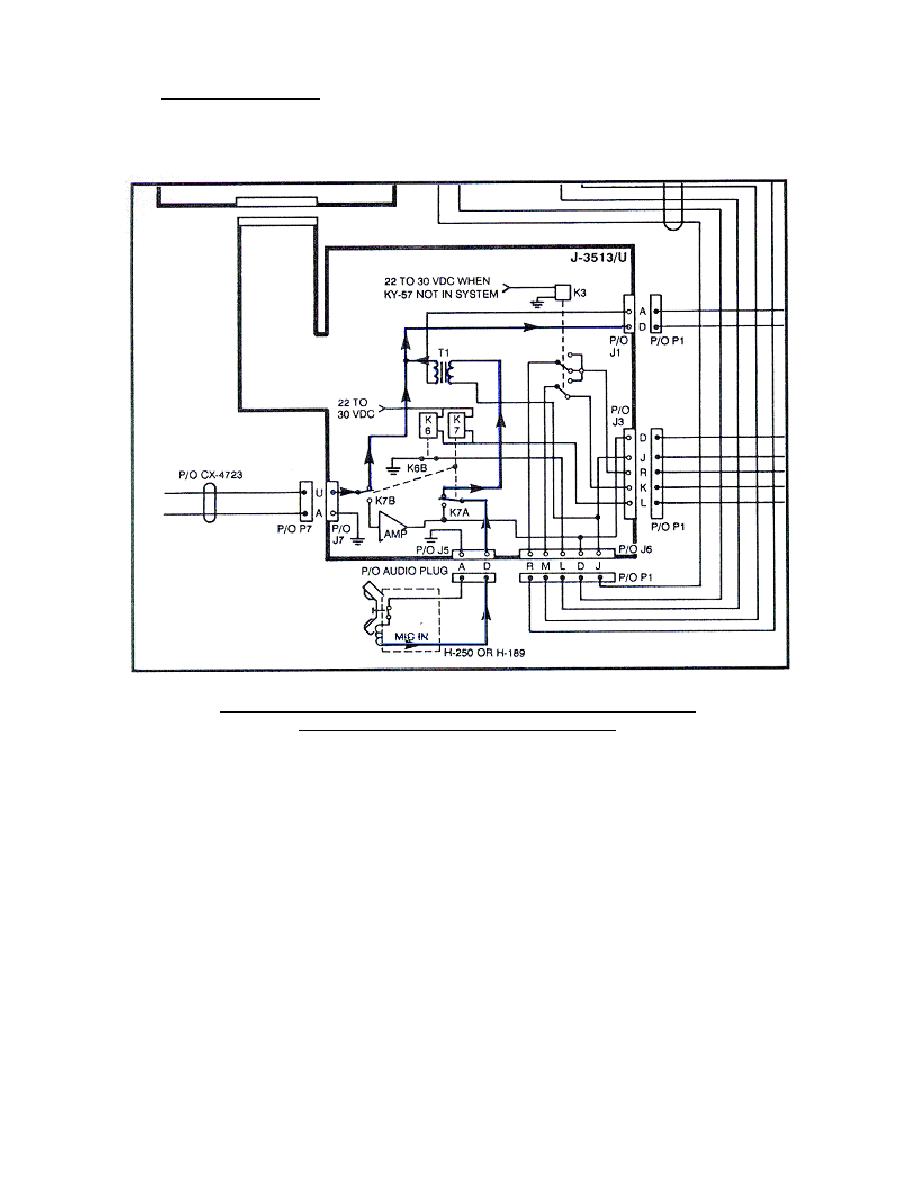
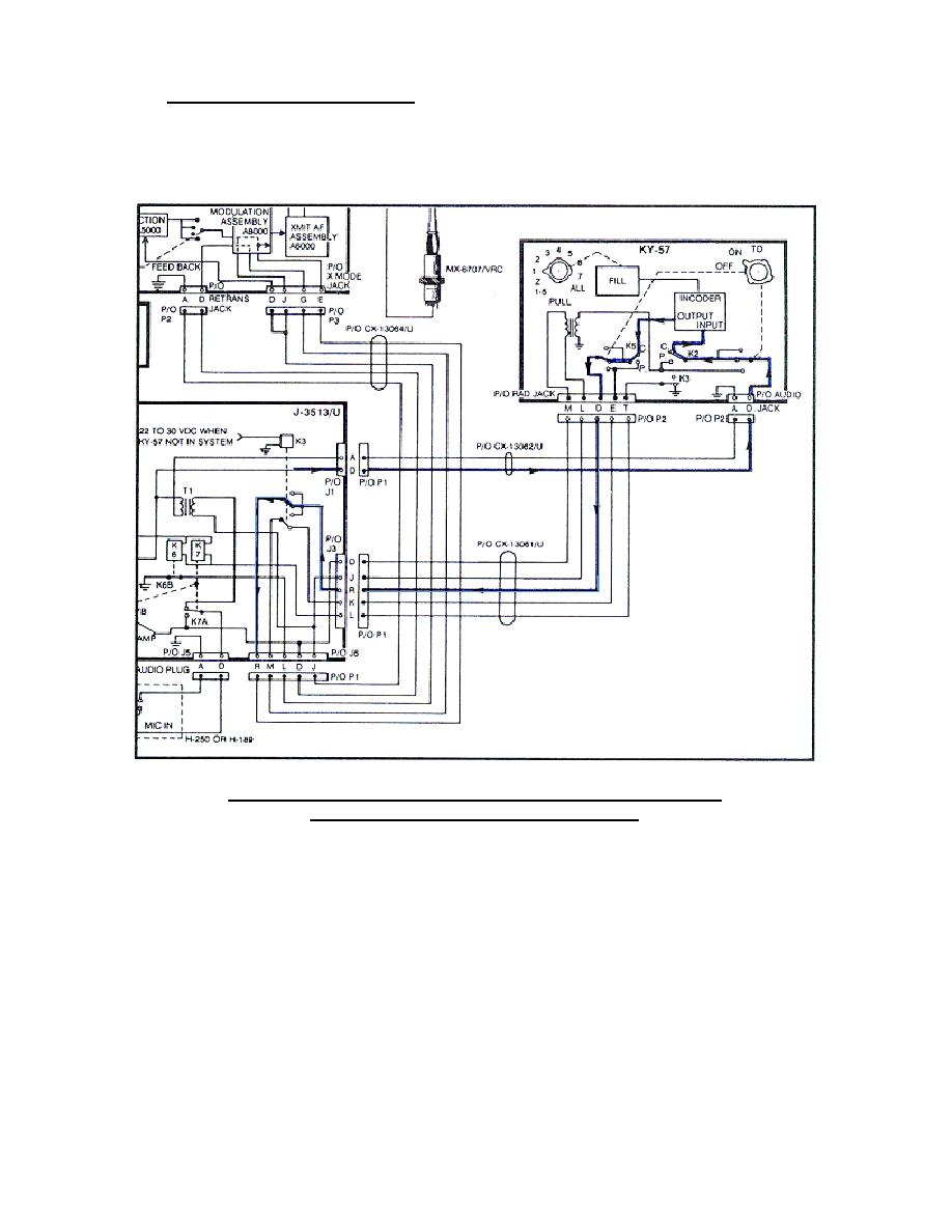
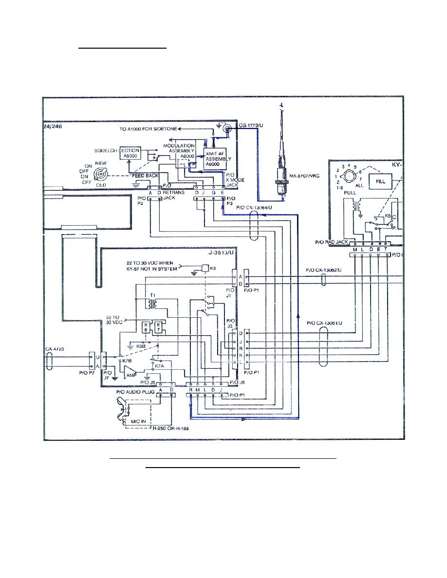
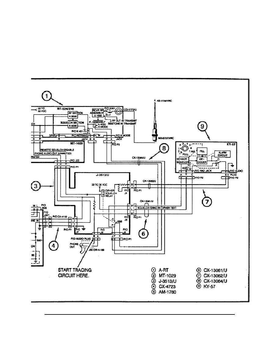
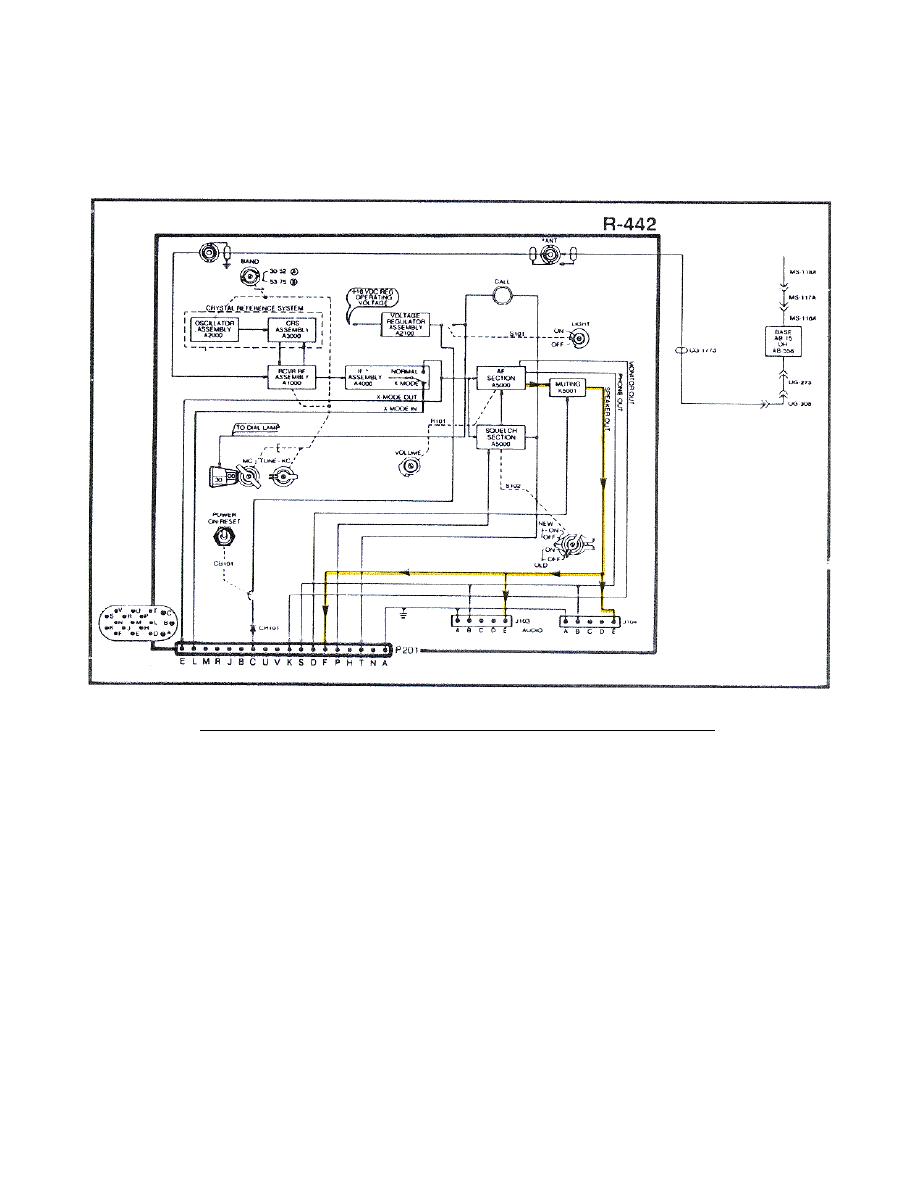
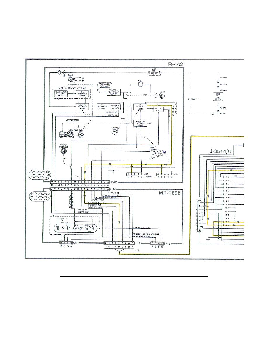
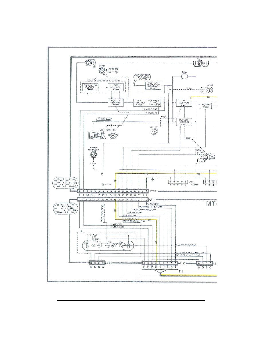
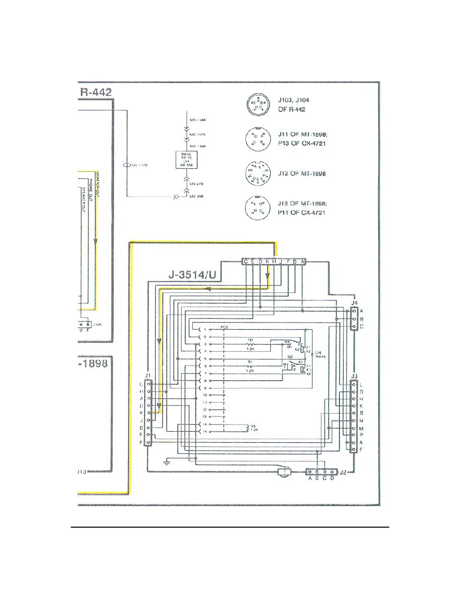
AN / VIC-1のメインジャンクションボックス。関連する乗組員のコントロールボックスと、増幅器に接続されている可能性のある無線システムへのDC電源の制御を提供します。増幅器はまた、相互通信(インターコム)および無線回路のオーディオ信号を増幅および制御します。AM-1780では、2線式電話機器の接続、またはバインディングポストコネクタを介した同様の装備の車両間の直接2線式接続も可能です。VIC-1と他の機器との統合で、他の非標準無線機の統合例を参照してください。

AN / VIC-1のメインジャンクションボックス。関連する乗組員のコントロールボックスと、増幅器に接続されている可能性のある無線システムへのDC電源の制御を提供します。増幅器はまた、相互通信(インターコム)および無線回路のオーディオ信号を増幅および制御します。AM-1780では、2線式電話機器の接続、またはバインディングポストコネクタを介した同様の装備の車両間の直接2線式接続も可能です。VIC-1と他の機器との統合で、他の非標準無線機の統合例を参照してください。

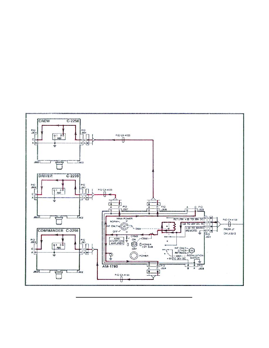
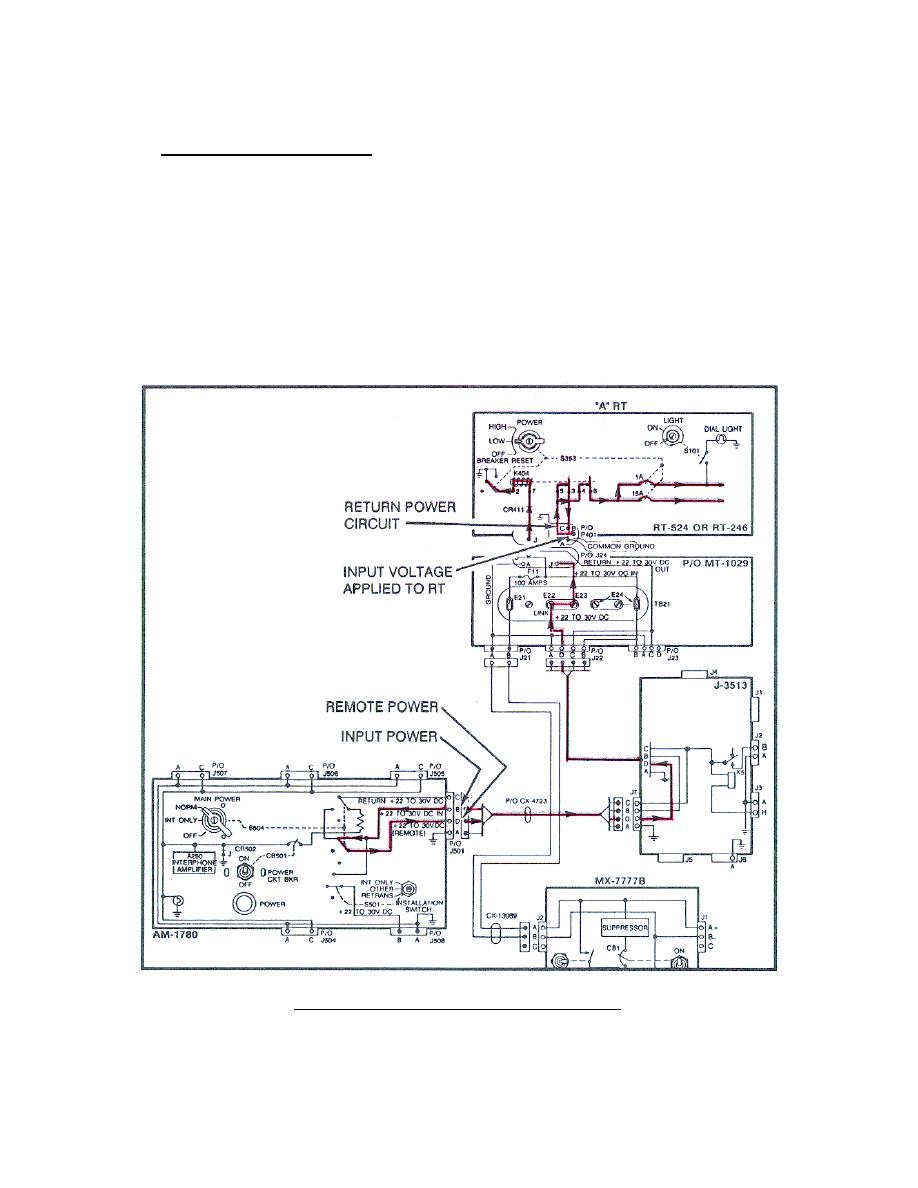
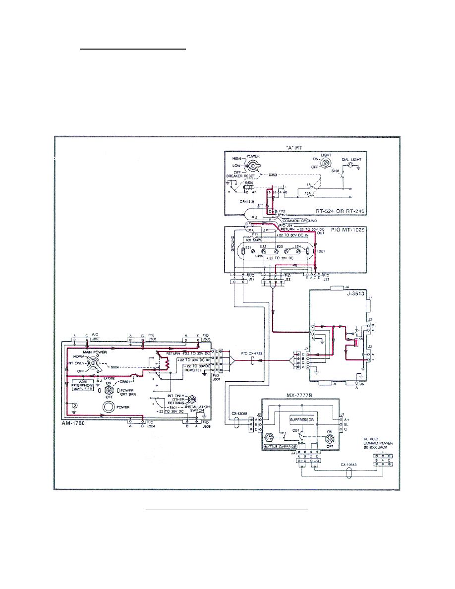
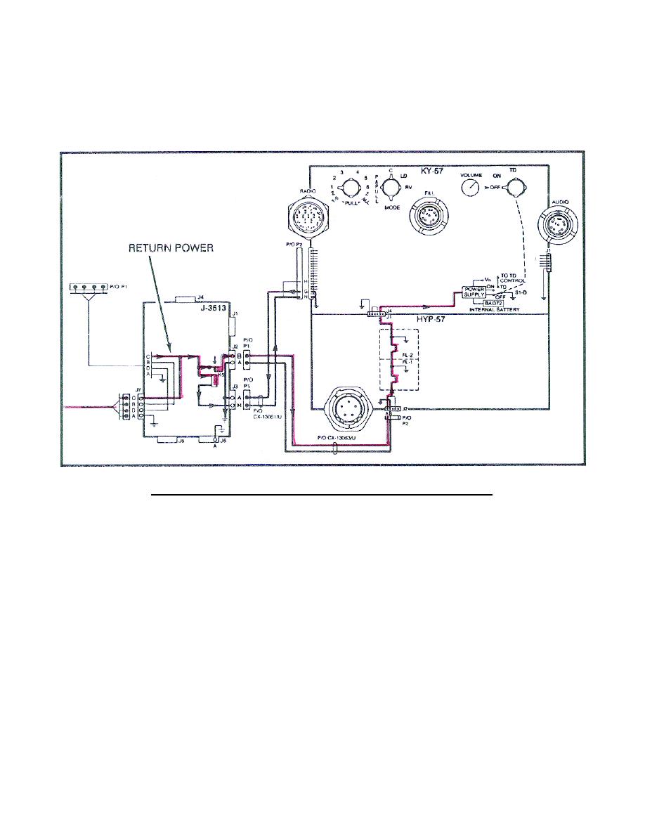
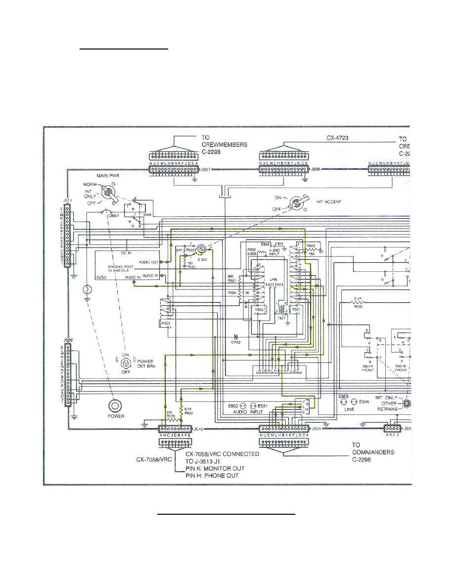
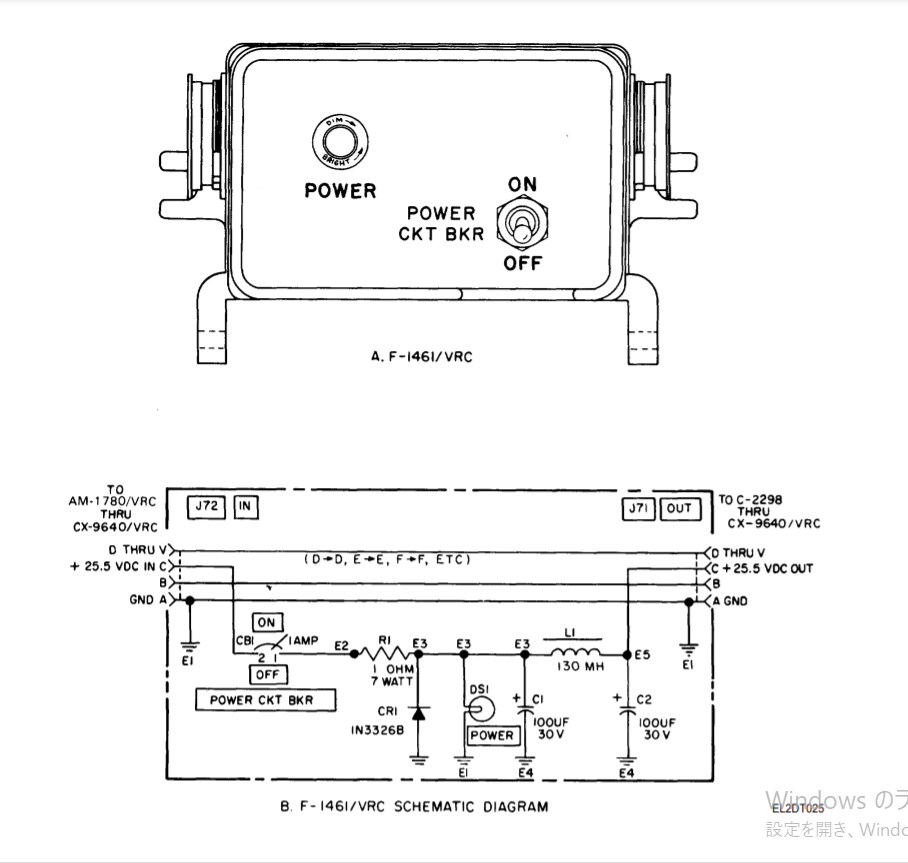
主電源(1)
- NORM
- インターコムおよびリモートコントロール電源用に構成されたすべての無線機。インストールモード「OTHER」が必要です。電源はJ501(Aラジオ)ジャックから供給されます。切り替えられた電源は、ピンDのA無線に戻されます。(J503でも送信される場合があります)
- INTのみ
- リモートコントロール電源用に構成された無線機に電源が供給されていません。
- オフ
- リモート電源用に構成されたインターコムと無線がオフになりました。オーディオは引き続き有効で、ヘッドセットで機能します。スピーカーオーディオからヘッドセットへの直接接続があります。
- NORM
- インターコムおよびリモートコントロール電源用に構成されたすべての無線機。インストールモード「OTHER」が必要です。電源はJ501(Aラジオ)ジャックから供給されます。切り替えられた電源は、ピンDのA無線に戻されます。(J503でも送信される場合があります)
- INTのみ
- リモートコントロール電源用に構成された無線機に電源が供給されていません。
- オフ
- リモート電源用に構成されたインターコムと無線がオフになりました。オーディオは引き続き有効で、ヘッドセットで機能します。スピーカーオーディオからヘッドセットへの直接接続があります。
POWER CKT BKR(2)
- オン
- AM-1780に電力が供給されます
- オフ
- 回路ブレーカーが作動したか、オフになっています。これは、リモート電源用に構成された無線をオフにしません。
- オン
- AM-1780に電力が供給されます
- オフ
- 回路ブレーカーが作動したか、オフになっています。これは、リモート電源用に構成された無線をオフにしません。
パワー(3)
- パワーインジケーターランプ
- パワーインジケーターランプ
INT ACCENT(4)
- オン
- インターコムキーを押すと、ラジオの受信音量が低下します。
- オフ
- インターコムキーを使用しても、無線の受信音量は低下しません。
- オン
- インターコムキーを押すと、ラジオの受信音量が低下します。
- オフ
- インターコムキーを使用しても、無線の受信音量は低下しません。
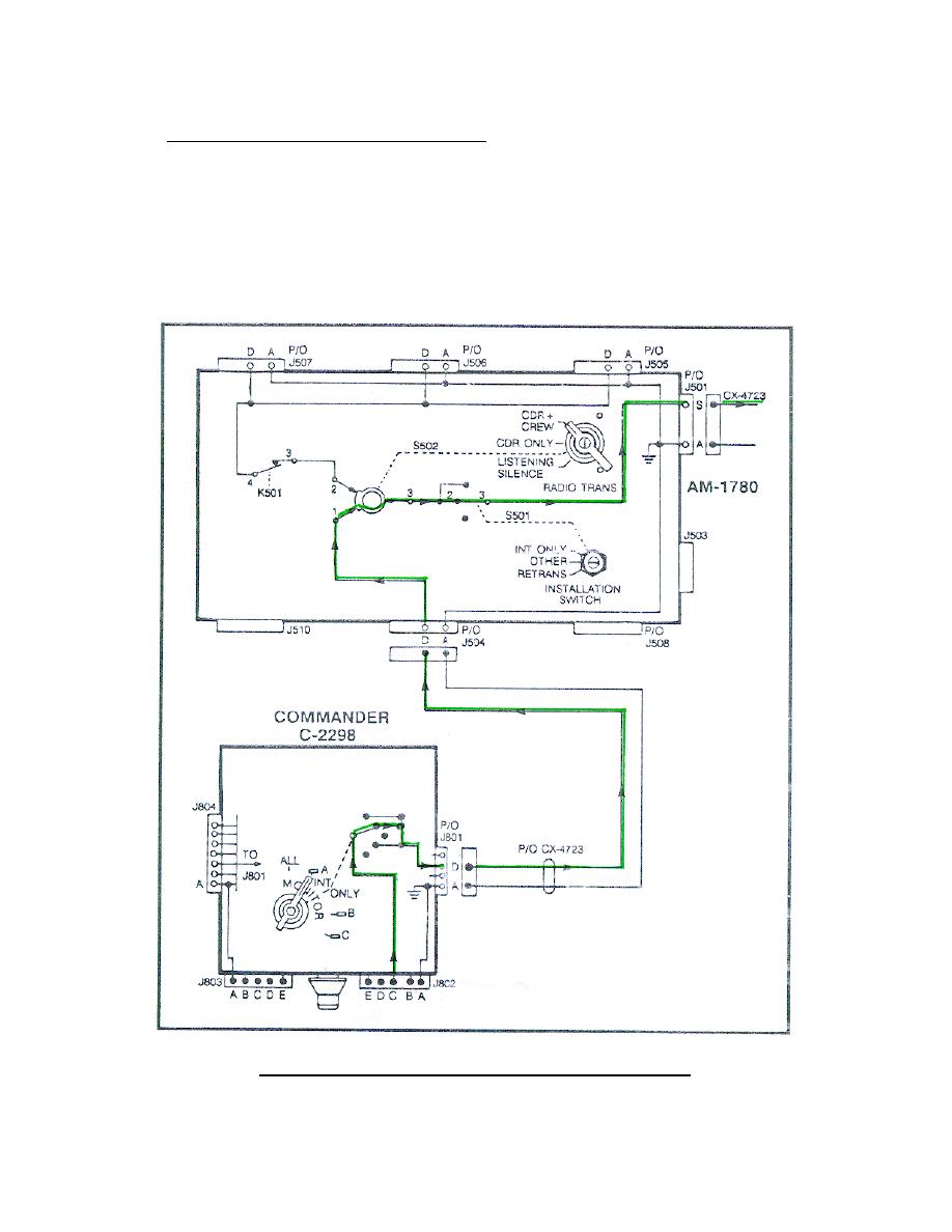
ラジオトランス(5)
すべてのステーションがラジオをキーイングできるようにします
- すべてのステーションがラジオをキーイングできるようにします
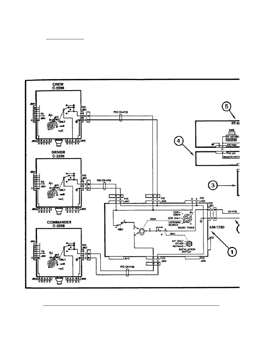
取り付けスイッチ(6)
- INTのみ
- 無線機が設置されていない場合に使用され、電源はJ508を介して供給されます。無線機能はアクティブではありません。
- 他の
- ラジオで使用するための通常の設置位置。電源はJ501(Aラジオ)接続を介して供給されます。無線およびPTT機能がアクティブです。
- RETRANS
- 再送信が有効になっていることを除いて、「OTHER」と同じです。C-2299モジュールをインストールする必要があります。

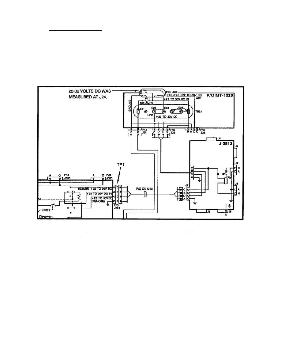
- J501
- 「A」無線接続。また、「その他」モードでAM-1780に電力を供給します。
- J503
- 「C」無線接続
- J504
- 搭乗員の接続に依存しないコマンダーコントロールボックス(J505-J507)
- J505
- 他のクルージャック(J505、J506、J507)と並列のクルーインターコムコントロールボックス
- J506
- 他のクルージャック(J505、J506、J507)と並列のクルーインターコムコントロールボックス
- J507
- 他のクルージャック(J505、J506、J507)と並列のクルーインターコムコントロールボックス
- J508
- 「INTONLY」モードの場合の電源接続または「OTHER」モードのCRX無線
- J509
- C-2299再送接続
- J510
- 「B」ラジオ(RXのみ)接続
- J511
- C-2299再送接続
C-2298 / VRC
- INTのみ
- 無線機が設置されていない場合に使用され、電源はJ508を介して供給されます。無線機能はアクティブではありません。
- 他の
- ラジオで使用するための通常の設置位置。電源はJ501(Aラジオ)接続を介して供給されます。無線およびPTT機能がアクティブです。
- RETRANS
- 再送信が有効になっていることを除いて、「OTHER」と同じです。C-2299モジュールをインストールする必要があります。
- J501
- 「A」無線接続。また、「その他」モードでAM-1780に電力を供給します。
- J503
- 「C」無線接続
- J504
- 搭乗員の接続に依存しないコマンダーコントロールボックス(J505-J507)
- J505
- 他のクルージャック(J505、J506、J507)と並列のクルーインターコムコントロールボックス
- J506
- 他のクルージャック(J505、J506、J507)と並列のクルーインターコムコントロールボックス
- J507
- 他のクルージャック(J505、J506、J507)と並列のクルーインターコムコントロールボックス
- J508
- 「INTONLY」モードの場合の電源接続または「OTHER」モードのCRX無線
- J509
- C-2299再送接続
- J510
- 「B」ラジオ(RXのみ)接続
- J511
- C-2299再送接続


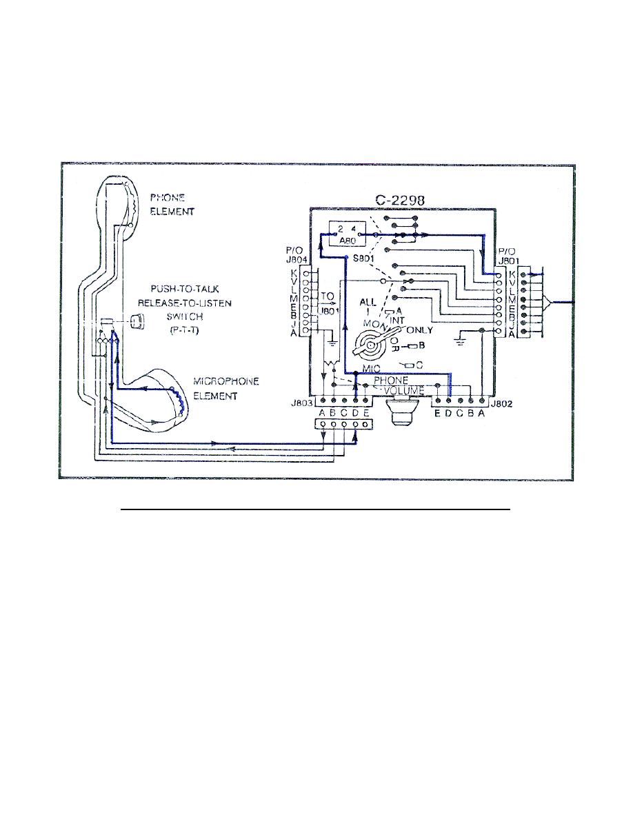
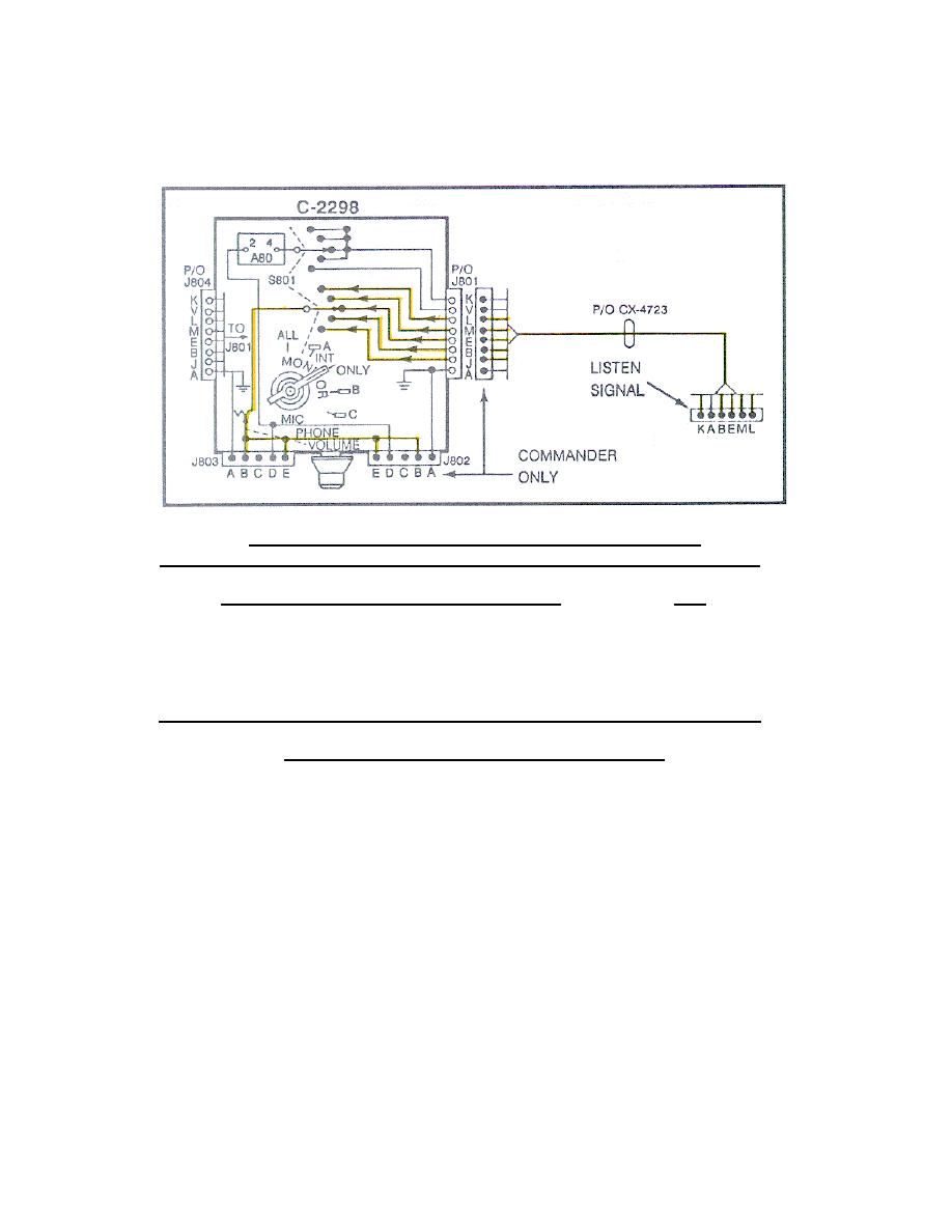
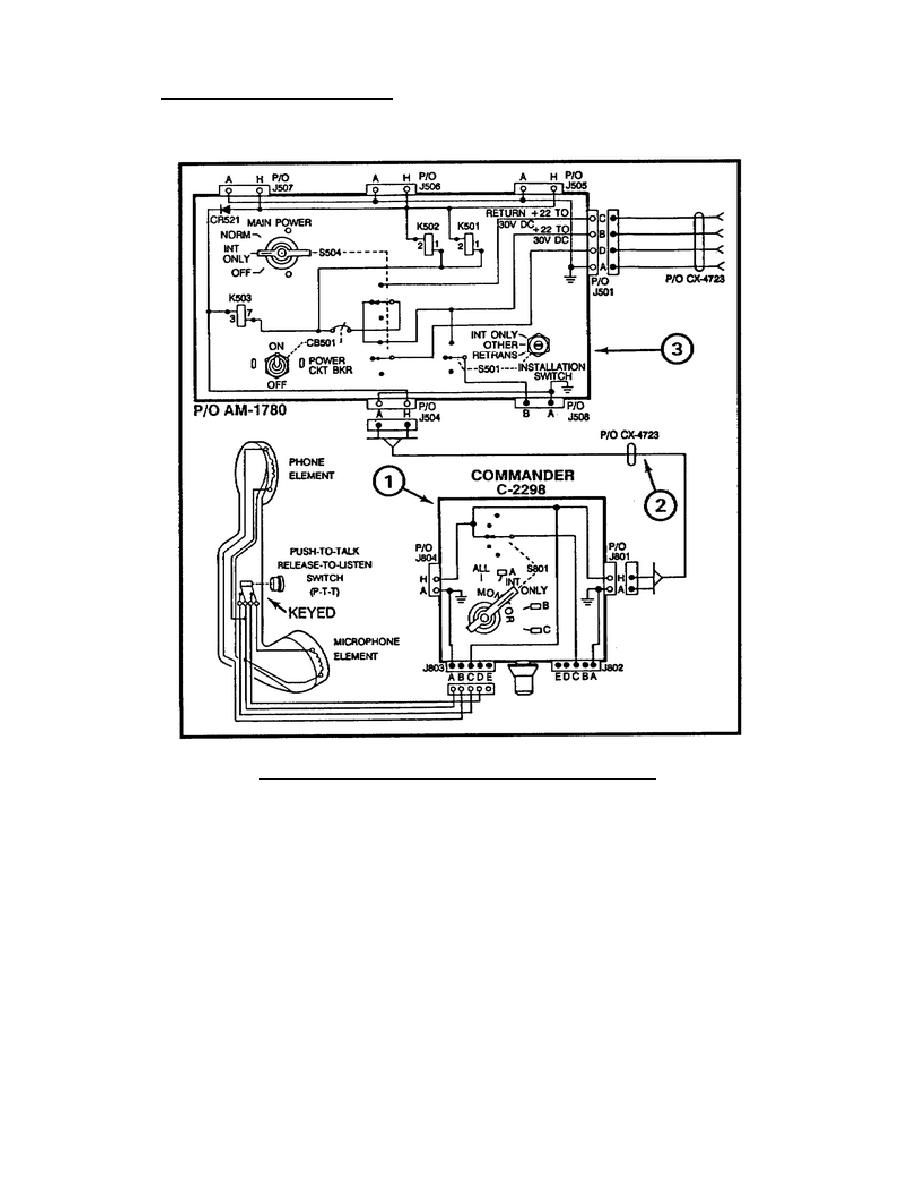
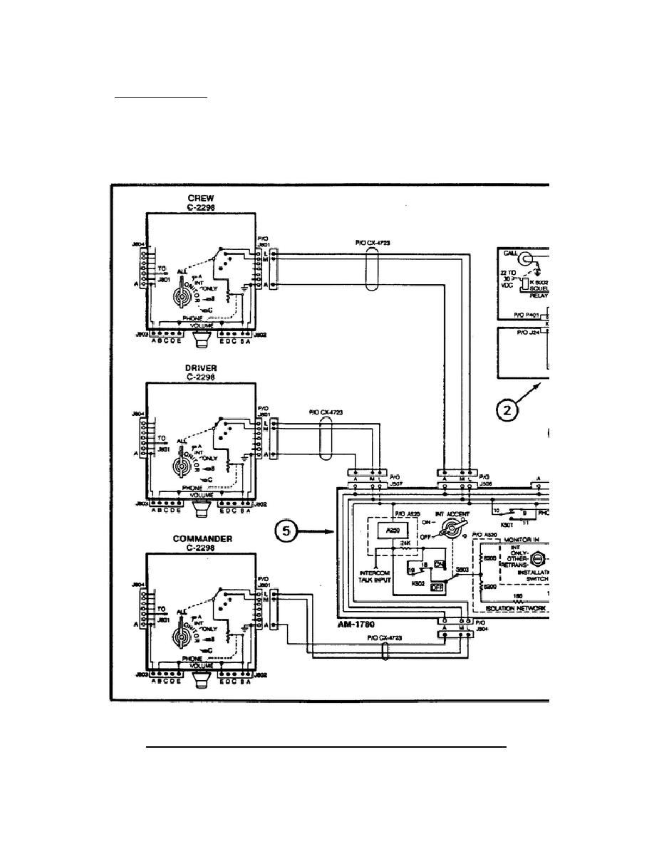
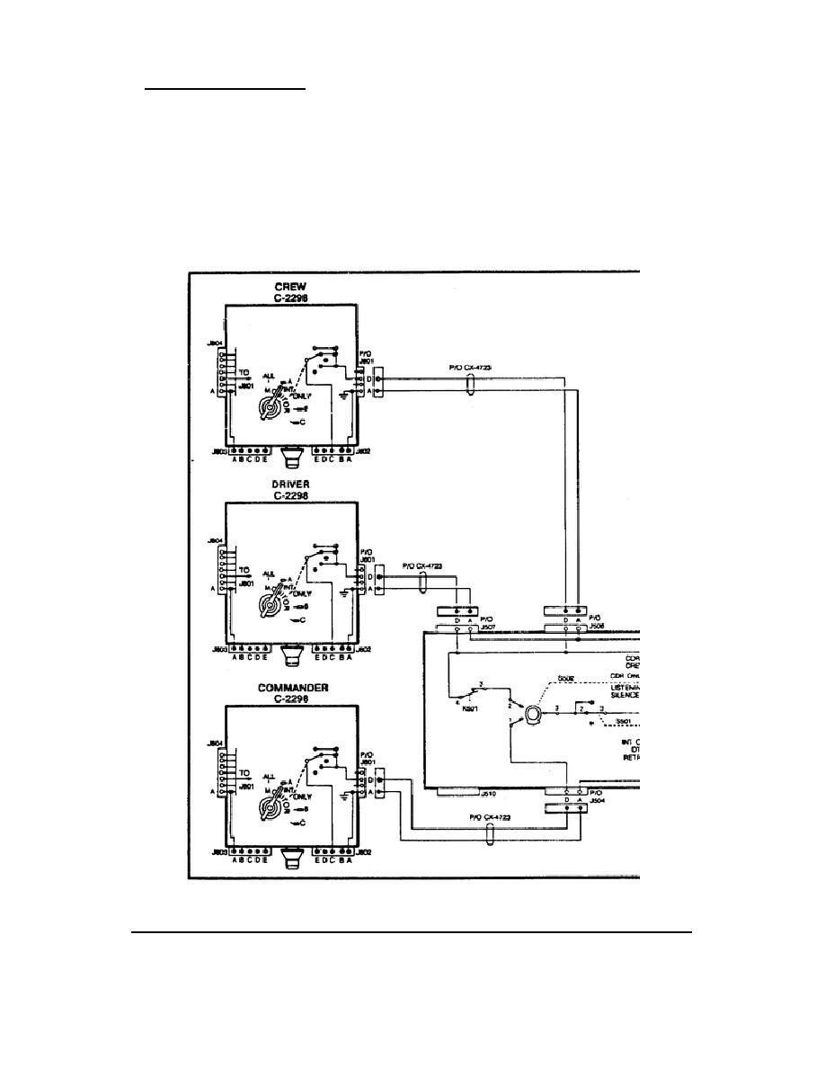
C-2298 / VRC相互通信制御セットは、司令官または車両内の他の要員に無線およびインターコム機能を提供します。セレクターは、システム内の任意またはすべての受信機-送信機での受信と送信を可能にします。ボリュームコントロールは、インターコムと受信信号のオーディオレベルを調整します
C-2297 / VRC


概要

このボックスは、乗組員に無線およびインターホン設備を提供します。その機能はC-2298 / VRCの機能と似ていますが、C-2296 / VRCのジャンクションボックスとしても機能します。ユニットには、コールインジケータとC-2296 / VRCオペレータに信号を送る手段が含まれています
C-2296 / VRC
概要
C-2296 / VRCは、車両(通常はタンク)の外側の防水ボックスに取り付けられています。それは付属していますH-207 / VRCが取り付けられています。C-2296 / VRCは、C-2297 / VRCに(車両配線を介して)接続する必要があります。
- J61-車両配線を介してドライバーのC-2297 / VRCに並列接続を提供します。
- J62-防水ボックスに取り付けられた外部信号灯への接続を提供します。
- RADTRANS-INT -C-2297 / VRCでEXTが選択されている場合にのみ機能します。INT位置では、オペレーターはドライバーのC-2297 / VRCによって選択されたオーディオを監視し、インターホンにキーを設定できます。バネ仕掛けのRADTRANS位置では、オペレーターは(ドライバーが選択した)ラジオにキーを押すことができます。
- VOLUME -H-207 / VRCで聞こえるオーディオ信号の音量を調整します。
- キースイッチ-H-207 / VRCのキースイッチは、ラジオまたはインターコムセットにキーを設定するために使用されます。ドライバーのC-2297 / VRCのライトを点滅させるためにも使用されます(ドライバーがSIG-E XT-OFFスイッチでオフを選択した場合)。スイッチを押して放します。
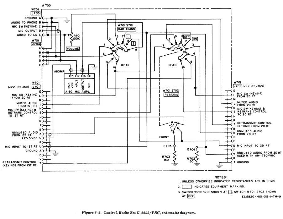
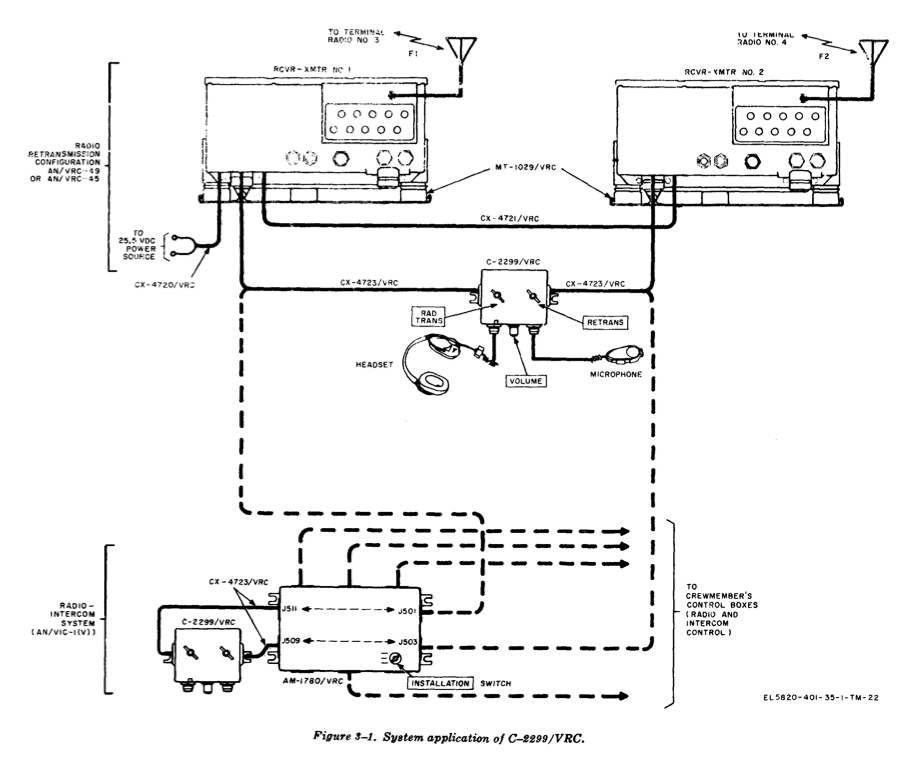
C-2299 / VRC
概要
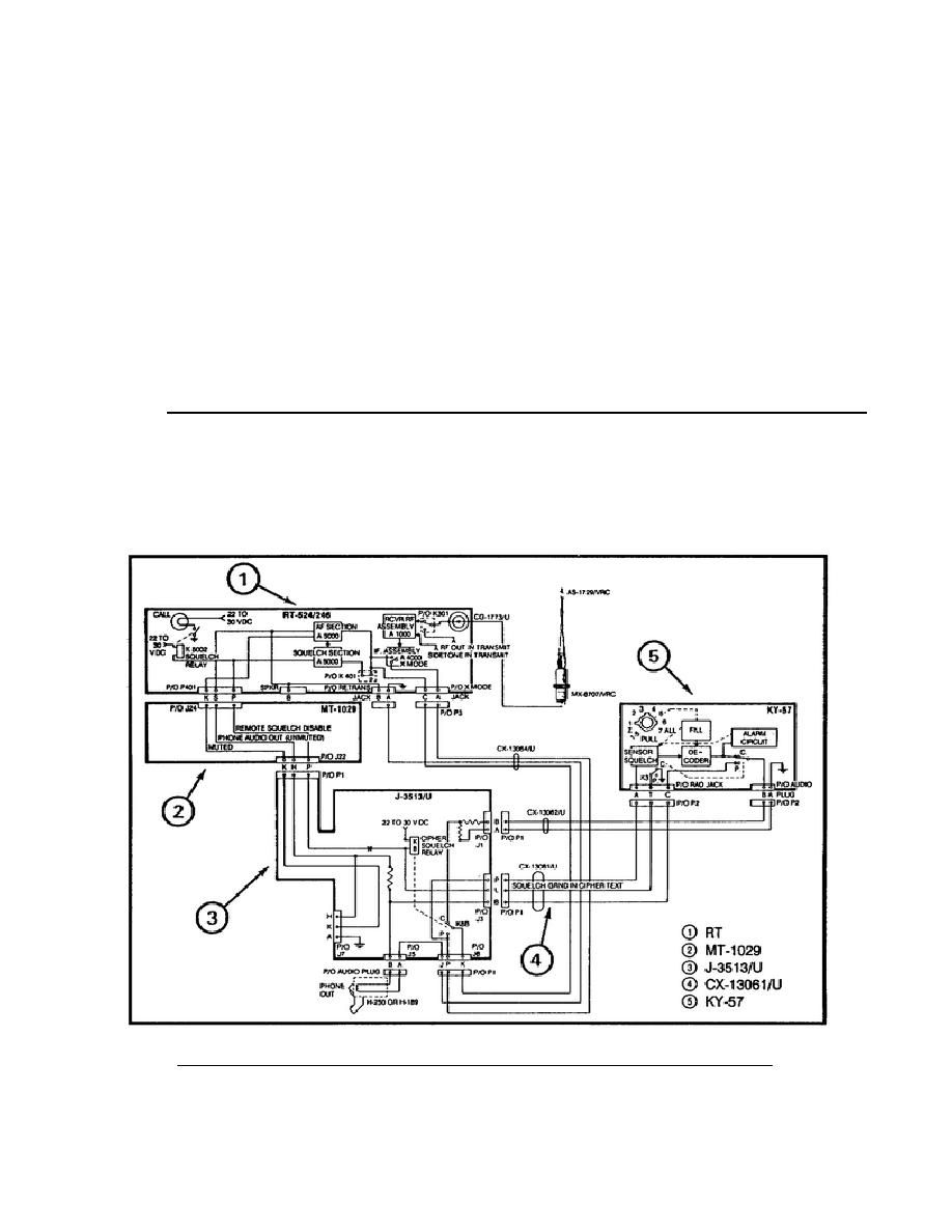
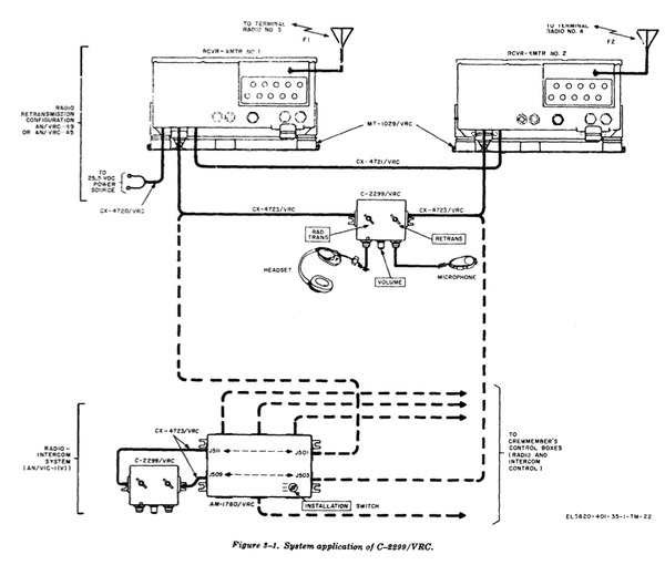
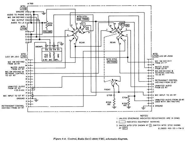
C-2299 / VRCは、無線機AN / VRC-49とAN / VRC-45の受信機と送信機の間で使用され、互いに直接通信するには離れすぎている無線機間で信号を自動的に再送信します。
受信機-送信機No.1と端末無線機No.2は1つの周波数(F1)で動作し、受信機-送信機No.2と端末無線機No.4は別の周波数(F2)で動作します。再送信操作の場合、システム内の無線はスケルチモードで動作する必要があります。
C-2299 / VRC RETRANSスイッチがONに設定されている場合、信号の再送信とキーイング制御は、C-2299 / VRCを介して再送信サイトの受信機-送信機に自動的に渡されます。C-2299 / VRC RE-TRANSスイッチがOFFに設定されている場合、ユーザーはC-2299 / VRCに接続されたオーディオアクセサリから2つの受信機-送信機を制御できます。RAD TRANSスイッチの位置1では、受信機と送信機のNo.1が制御されます。RAD TRANSスイッチの位置2では、受信機と送信機の2番が制御されます。
オーディオアクセサリをC-2299 / VRCに接続して、無線ユーザーが再送信サイトの受信機-送信機を介して端末の無線機と通信できるようにすることができます。C-2299 / VRC RETRANSスイッチがONに設定されている場合、無線ユーザーは端末無線と通信できませんが、端末無線間で発生する送信を聞くことができます。
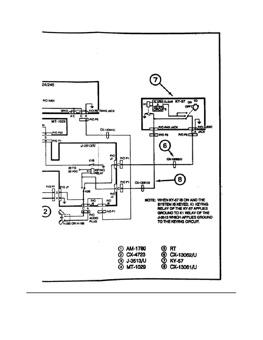
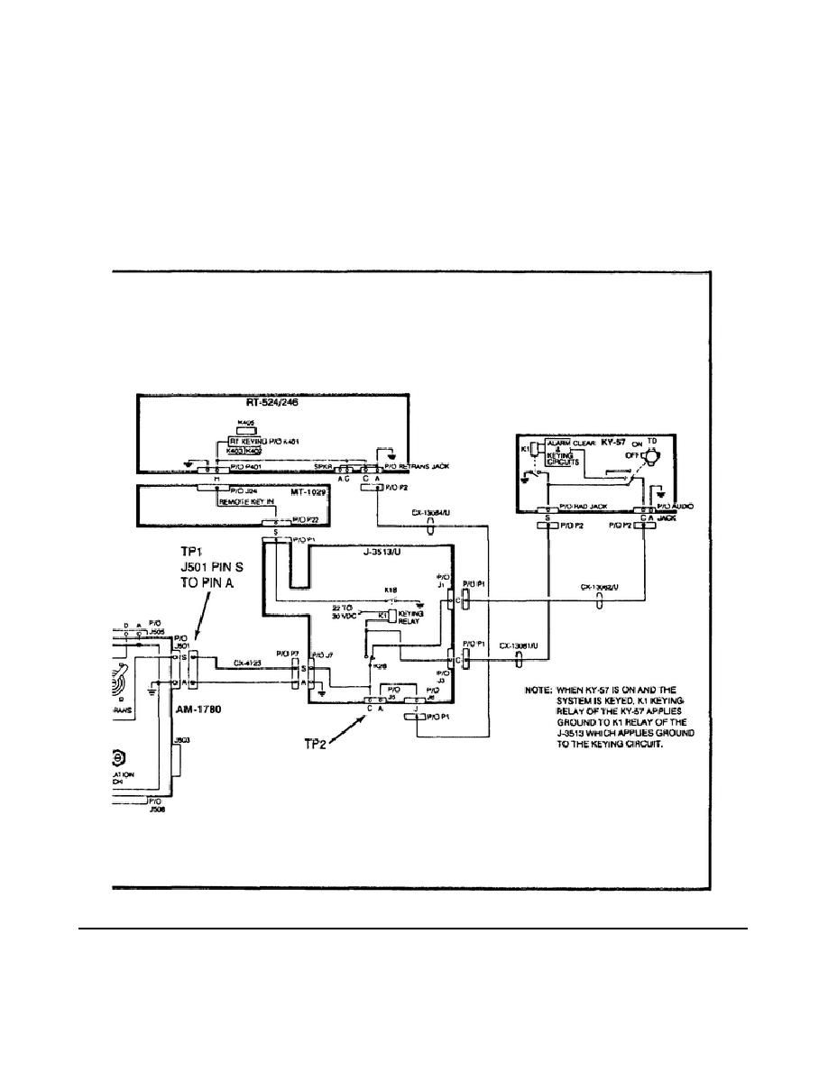
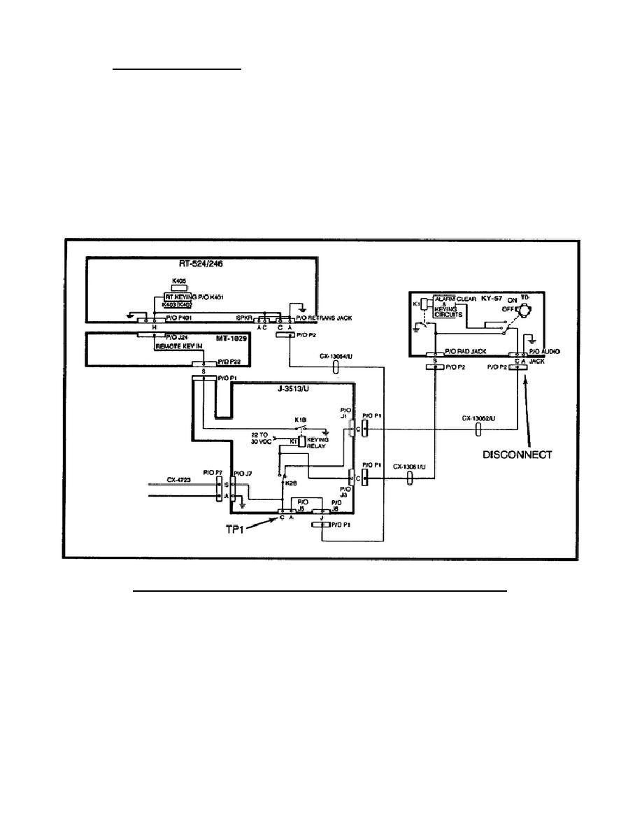
ただし、C-2299 / VRCが無線インターホンシステムのAM-1780 / VRCに接続されている場合、C-2299 / VRCでは受信機-送信機No.1および2の受信回路を使用できません。したがって、無線通信は乗組員のコントロールボックスから行われます。また、再送操作の場合、AM-1780 / VRCのINSTALLATIONスイッチがRETRANSの位置に設定されます。これらの条件下では、再送信信号は乗組員のコントロールボックスのすべての位置で利用できます。
VRC-12シリーズ無線機のリモートキーイングステーションとして使用
C-2299は、VRC-12シリーズ無線機のリモートキーイングステーションとして使用できます。C-2299をMT-1029に接続すると、最大2つの無線機でマイクとスピーカーをリモートで使用できます。典型的な例は、C-2299を車両のフロントキャブに取り付け、ラジオを後部またはシートの下に置いたままにすることです。
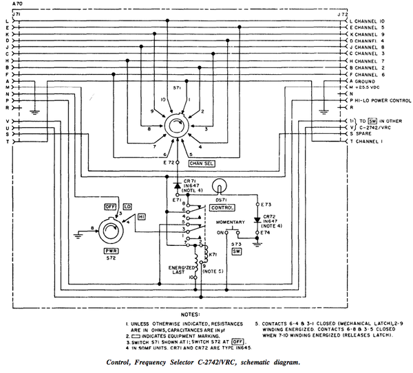
C-2742 / VRC


概要
このボックスは、自動受信機-送信機RT-246 / VRCの10個のプリセットチャンネルのいずれかを選択します。また、RT-246 / VRCに適用される電力をリモートで制御し、RF出力レベルを選択します。汎用性を高めるために、2台のC-2742 / VRCユニットを軍用車両に使用できます。各ボックスは、瞬間的なスイッチを押すことによって受信機-送信機の制御を取得します。2つの特別なラグにより、C-2298 / VRCの上に取り付けることができます。
関連ファイル
- オペレーターおよび組織のメンテナンスマニュアル
- 相互通信セットAN / VIC-1(V)(NSN 5830-00-856-3273)
- 制御、相互通信セット
- C-10456 / VRC(NSN 5830-01-082-0804)
- C-10680 / VRC
- アンプ、可聴周波数
- AM-7046 / VRC
- 1986年1月15日
- 組織的および直接的なサポート
- メンテナンス修理部品と特別なツールのリスト
- 相互通信セット
- AN / VIC-1(V)(NSN 5830-00-856-3273)
- 1988年11月1日
TM 11-5895-1548-34 - 直接および一般的なサポートメンテナンスマニュアル
- 可聴周波数増幅器
- AM-1780B / VRC(NSN 5895-01-284-3057)
- 1995年5月1日
- 直接および一般的なサポートメンテナンスマニュアル
カテゴリ「ミリタリー/インターコム」のページ
合計21ページのうち、次の21ページがこのカテゴリに含まれます。






































































































































































コメント