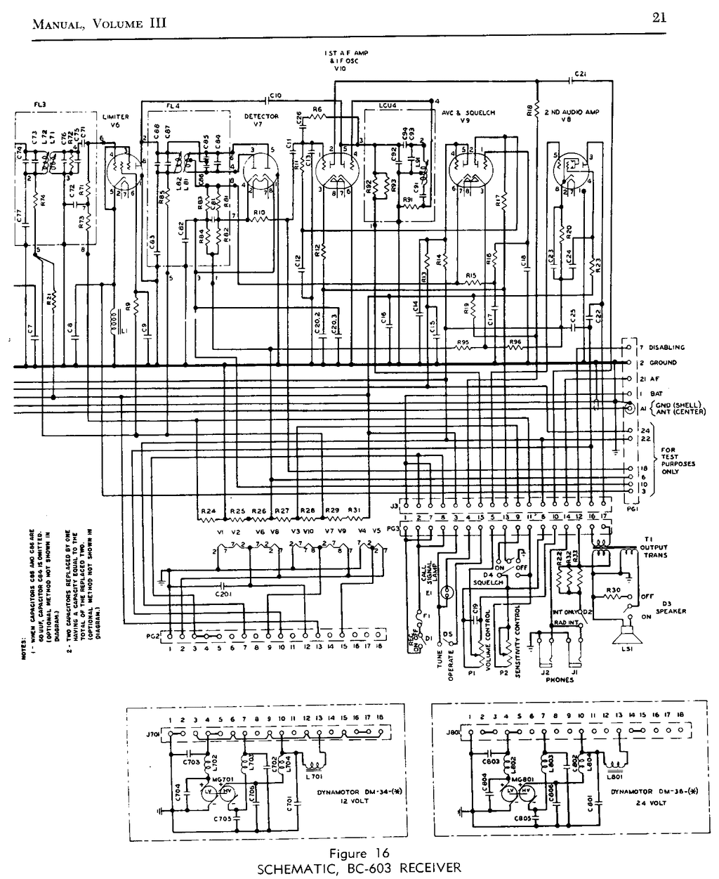
SCR-538/BC-603 SCR-638/BC-683
SCR-538/BC-603 20.0MHz-27,9MHz FM受信機 10CHプリセット
SCR-638/BC-683 27.0MHz-38,9MHz FM受信機 10CHプリセット
IF 2.65MHz
11 TUBU
12V/24V

















































SCR-538/BC-603 SCR-638/BC-683
SCR-538/BC-603 20.0MHz-27,9MHz FM受信機 10CHプリセット
SCR-638/BC-683 27.0MHz-38,9MHz FM受信機 10CHプリセット
IF 2.65MHz
11 TUBU
12V/24V
























































































































































































































































































































































































































































































































































































































































































































































































































































